If Screens Could Fly: Imagine a Future with Samsung’s Floating Display Drone
Samsung – maker of many things mobile and digital – is clearly not content with smooth lines of their Galaxy series mobile phones, or the sleek curves of 4K televisions. They are now planning to take their display department to new heights, in a novel combination of screen and drone. How do we know this? Samsung Display has had a patent published last week on February 13, 2018, after filing it with the USPTO in early 2016. The original patent was filed in Korea in April 2015, and is entitled ‘Flying display device‘.
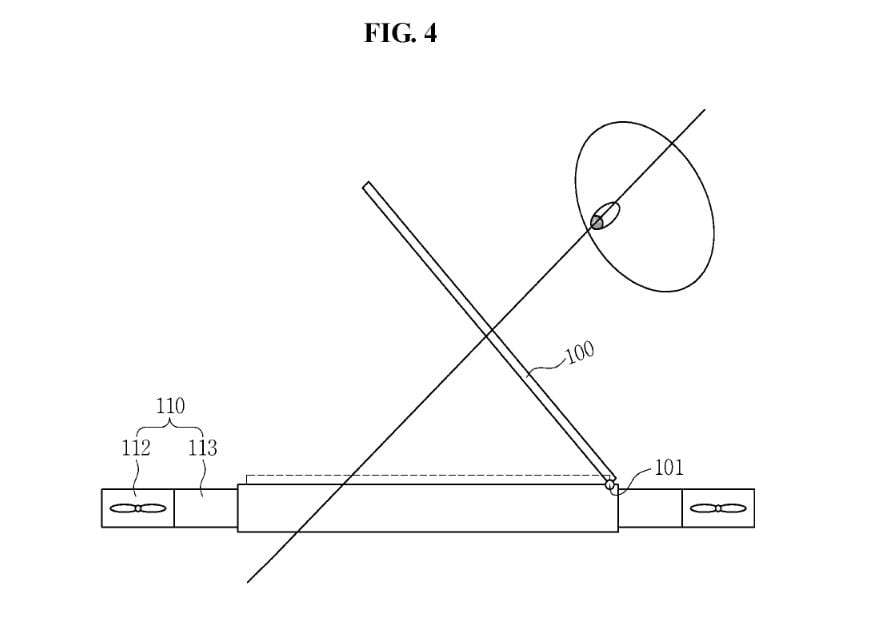
The patent shows a drone with a display, and depicts a flying screen with four small propellers surrounding it to produce lift and get the device airborne. While the final design may differ slightly from the images, it’s best described as a quadcopter tablet with safety propellers enclosed in four casings.
In particular, the patent deals with the use and possibilities of this drone. A horizontally positioned screen would be next to useless, so this flying display device would detect various types of user information, including the position and movement of the user. In addition, facial recognition technology would track the user’s face and pupils, allowing it to stay within a useful visual range.
Imagine the uses: who among us has made use of a recipe in the kitchen found on a smartphone, only to have to continually wash hands in order to access the recipe again in between prepping and cooking. With this device, a user would be able change the position or angle of the flying object by staring at it and moving along in the direction in which the drone must rotate. For this, the user does not have to perform any additional operations, according to the patent.
- Samsung Flying Display. Source: USPTO
- The eyes have it – Samsung flying device using facial recognition technology. Source: USPTO
- The eyes have it – Samsung flying device using facial recognition technology. Source: USPTO
Voice recognition is also discussed in the patent – the device would be able to recognize the voice, and then convey that information to the control unit. This would mean easy hands-free control, enabling the user to carry on with tasks while viewing the screen. Don’t worry about it crashing into something either – the patent also describes an obstacle detection unit.
In addition, the patented Samsung drone is equipped with a gyro sensor, a motion sensor and a speedometer. Furthermore, the drone may be equipped with an anti-vibration system which would undoubtedly provide more stable images.
The patent does not go into the type of display that will be used – it’s left wide open with a stipulation that the display unit could fulfill a communication function – that is, any smart device such as a smartphone, tablet, e-Book, laptop, camera or wearable.
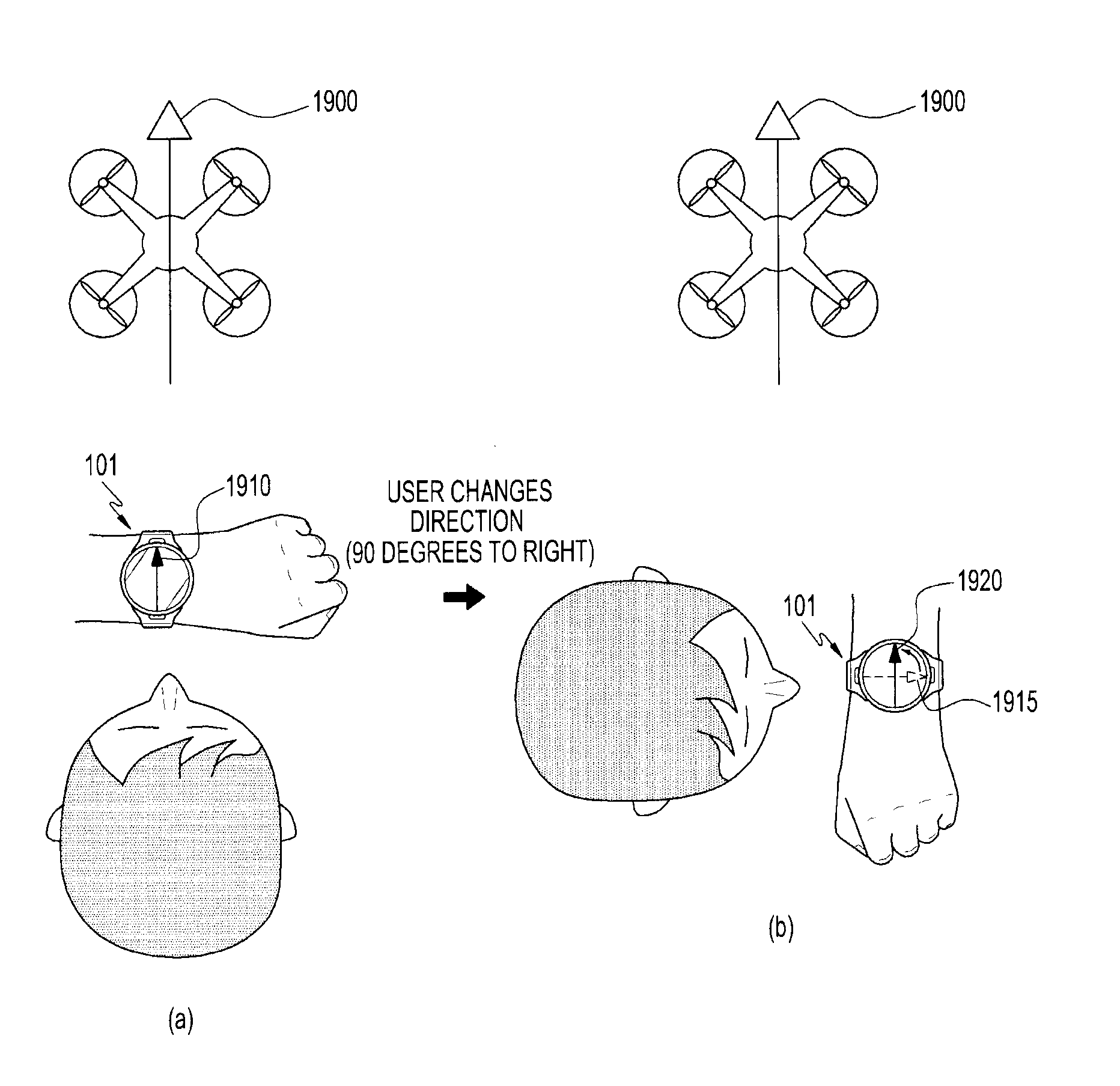
It is not the first time that Samsung has applied for a patent for drone-related technology. Late last month, the company had another patent published describing a device looking suspiciously like a wristwatch that could be used to control a UAV. The watch face would display information related to a drone’s movement, and contain technology to enable it to transmit control signals to a drone. By lowering or raising, or twisting the wrist, the drone movements would respond accordingly.
- Source: Google Patents
- Source: Google Patents
- Source: Google Patents
Will we see Samsung enter the drone space in the near future? It seems likely – stay tuned!















